امروزه بازیهای ویدئویی در مقایسه با هر زمان دیگری به محبوبیتی بینظیر دست یافتهاند و چندین میلیون نفر هر روزه در حال تجربه این سرگرمیها هستند، چه بر روی کنسولها و چه بر روی کامپیوترها و دیگر پلتفرمها. بدیهی است که جمع زیادی از گیمرها ممکن است در زمینههای گوناگون مانند حل معماها، مسیریابی یا مقابله با چالشهای دشوار به مشکل بربخورند. سونی در پاسخ به این نیاز، ابتکاری نوین ارائه داده و اختراعی با عنوان «بازیکن شبح هوش مصنوعی» به ثبت رسانده است که به عنوان یک دستیار هوشمند میتواند در مواقع لازم به بازیکنان یاری رساند.

این اختراع که اوایل سال جاری میلادی فاش شد، تأکید دارد بر این موضوع که بازیهای ویدئویی در طی سالهای اخیر به طرز قابل توجهی پیچیدهتر گشتهاند. این روند میتواند باعث شود که بازیکنان برای ادامه بازی به نشانگرهای داخلی یا کاراکترهای همراه متکی شوند. اما متأسفانه، این روشهای سنتی گاهاً قادر به برآورده کردن تمامی نیازهای گیمرها نیستند و نمیتوانند تجربهای کامل را ارائه دهند.
در چنین وضعیتی، سیستم جدید سونی به یاری آمده است. بر اساس توضیحات، این مدل هوش مصنوعی از طریق مجموعهای وسیع از ویدئوها و دادههای گوناگون آموزش دیده است. این آموزش به هوش مصنوعی این امکان را میدهد تا موقعیتهایی که ممکن است برای کاربران دشوار یا گمراهکننده باشد، شناسایی کرده و با نمایش تصویری واضح، راهحلهای ممکن را بهطور مستقیم به گیمر نشان دهد.

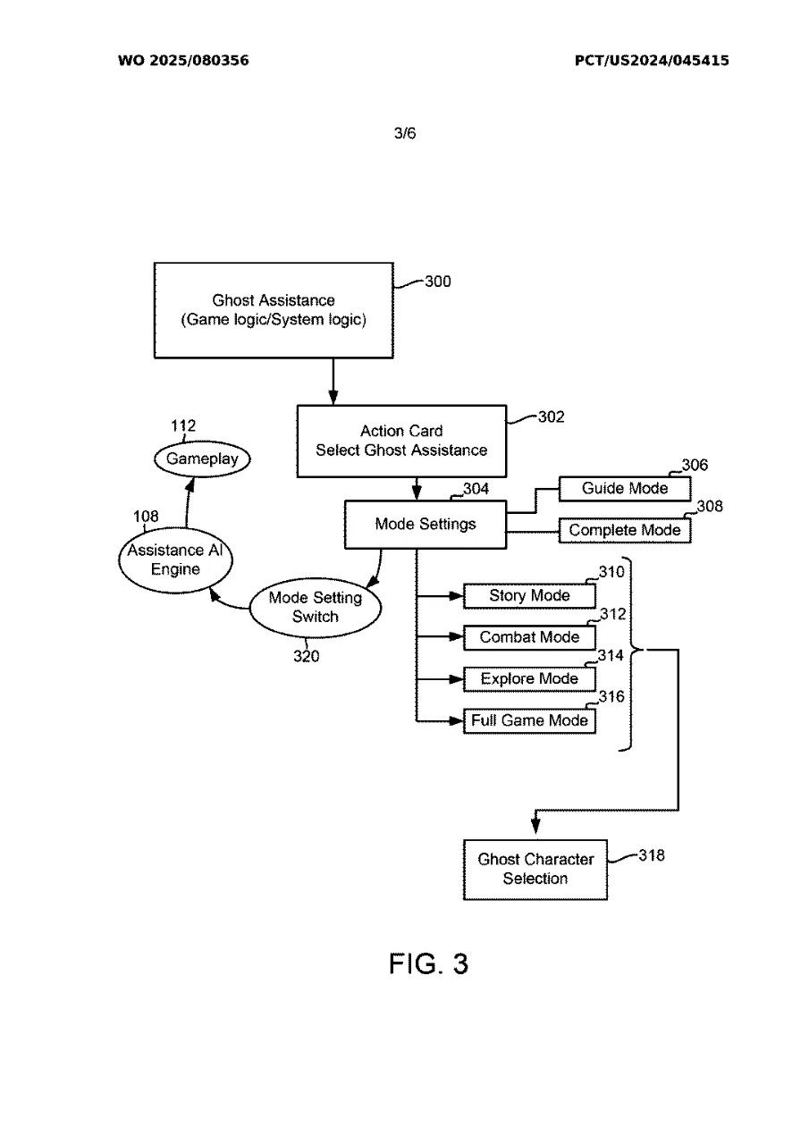
در این اختراع، سونی به وضوح بیان کرده که بازیکن شبح میتواند در دو حالت عرضه شود؛ یکی بهصورت ساده و محدود و دیگری بهصورت پیشرفته و جامع. این کمک میتواند به شکل یک راهنمای مختصر شامل دکمههایی که باید به ترتیب فشار داده شوند، باشد، یا حتی بهصورت یک گفتوگوی تعاملی میان شخصیت بازیکن و شبح هوش مصنوعی طراحی گردد تا تجربهای پویا شباهت بیشتری به همکاری انسانی پیدا کند.
خصوصیت شبح هوش مصنوعی این است که میتواند بهصورت یک شخصیت سهبعدی کامل یا به سادگی به شکل یک سایه نمایان شود. همچنین، این امکان وجود دارد که از طریق آواتور۹ ایجاد شده توسط کاربر یا حتی کاراکترهای دیگر بازیها به تصویر کشیده شود؛ ویژگی که نشاندهنده انعطافپذیری و تنوعی است که سونی در این سیستم مدنظر دارد و قصد دارد آن را برای هر بازیکن ویژهسازی کند.
در بخشهای تصویری اختراع توضیح داده شده است که گیمر میتواند در طول بازی، گزینه فعالسازی شبح هوش مصنوعی را انتخاب کند و بعد از آن، انتخاب کاربر به موتور هوش مصنوعی منتقل میشود و شخصیت شبح با توجه به ورودیهای کنترلی ایجاد شده توسط موتور کمک، اقداماتی انجام میدهد تا گیمر بتواند مسیر صحیح را کشف کند یا از چالشها عبور کند.

علاوه بر این، در بخش دیگری از اختراع مشخص شده که این شبحها میتوانند برای کمک به سناریوهای مختلفی مانند داستانسرایی، مبارزه یا کاوش تنظیم شوند. به عنوان مثال، انتخاب حالت داستان، شبح را قادر میسازد تا اداره بخشهای اصلی روایت را برعهده بگیرد، تا گیمر بتواند مسیر اصلی داستان را دنبال کند. در مقابل، با انتخاب حالت مبارزه، به بازیکن کمک میشود تا در نبرد با دشمنان موفق باشد؛ این قابلیت میتواند در بازیهایی مانند Devil May Cry برای یادگیری ترکیبهای جدید یا در بازیهایی چون Dark Souls به شکست دادن دشمنان دشوار کمک کند.
بهطور کلی، اگر این سیستم همانطور که در اختراع ذکر شده عملیاتی شود، میتواند به یک ابزار ارزشمند برای گیمرها تبدیل گردد. با توجه به اینکه بازیهای ویدئویی در میان افراد با سنین و تجارب مختلف به شدت محبوب هستند، طبیعی است که برخی بخشها برای برخی گیمرها دشوارتر باشد. در چنین شرایطی، بازیکن شبح هوش مصنوعی سونی میتواند بهترین راهکار باشد و تجربه بازی را برای تمام گیمرها تسهیل، روان و دلپذیرتر کند.
